ZFN21-12D,ZFN21-12DR系列户内真空负荷开关
ZFN21-12D/T630-20、ZFN21-12DR/T125-31.5型 户内真空负荷开关—熔断器组合电器
概 述
ZFN21-12D/T630-20、ZFN21-12DR/T125-31.5型高压真空负荷开关及组合电器用于三相交流10KV、50Hz的配电系统中。有结构紧凑、体积小、重量轻、寿命长,具有关合开断能力强、安全可靠等优点,与熔断器配合使用(简称组合电器),可替代造价较高的断路器,其操作和维护简单方便。
使用环境条件

负荷开关的技术参数

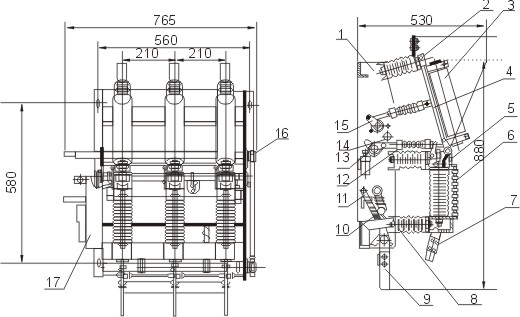
结构特点、性能(及外形安装尺寸,见图)


概 述
ZFN21-12D/T630-20、ZFN21-12DR/T125-31.5型高压真空负荷开关及组合电器用于三相交流10KV、50Hz的配电系统中。有结构紧凑、体积小、重量轻、寿命长,具有关合开断能力强、安全可靠等优点,与熔断器配合使用(简称组合电器),可替代造价较高的断路器,其操作和维护简单方便。
使用环境条件

负荷开关的技术参数

结构特点、性能(及外形安装尺寸,见图)




